
(1)分体式套筒钢筋接头是一种新型的剥肋滚压直螺纹接头型式,其工艺原理是将两根待连接钢筋的螺纹丝头用两个半圆形的螺纹套筒扣紧,丝头螺纹与半圆形套筒螺纹紧密咬合,再通过锁套将两个半圆套筒及钢筋丝头锁紧,使之连成一体而达到连接的目的。由于锁套及套筒的锥度小于自锁角,因此锁套锁紧后不会自行脱落,接头质量稳定、性能可靠。
(2)分体式套筒接头连接时,不需要钢筋的转动,使已成型的钢筋可以轻松实现对接。采用正反丝扣型套筒,通过转动套筒可少量调整两根已连接钢筋端面的间距,便于施工。
(3)丝头加工设备及套筒压接机功率小,耗电少,不需专用配电,无明火作业,可全天候施工,节能环保。
(4)对比普通的焊接施工工艺,能有效降低造价。

(1)分体式套筒使用前,应委托有资质的试验单位进行型式检验。
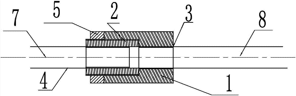
(2)钢筋丝头加工使用钢筋剥肋滚压直螺纹机将待连接钢筋的端头加工成螺纹,加工丝头有效螺纹长度不小于 1/2 连接套筒长度,且允许误差为+2P(P 为螺距)。丝头加工时应使用水性润滑液,不得使用油性润滑液。要求相临两段钢筋笼对接部分的钢筋丝头一端加工为右旋螺纹,另一端加工为左旋螺纹(加工完成后应做标记以示区分并便于和带有正反丝扣内螺纹(分体式套筒的一端为右旋螺纹,另一端为左旋螺纹)的分体式套筒匹配。
(3)如用于钢筋笼的钢筋连接,宜采预拼装的方式,即“单根连接→整体滚制→分段拆解”的方式:在钢筋笼加工时采取单根钢筋先连接,钢筋笼整体再滚制的方式,在整个钢筋笼加工完成后再将下笼时需要对接连接施工节点处拆开。
(4)钢筋连接时,准备好扳手及手锤,用于安装锁套后的初步锁紧;用钢筋焊接 1~2个简单工具(F 扳手),用于现场钢筋的对正调直。
(5)两段钢筋就位后,扣装套筒,注意扣装时左右旋方向不要弄反,扣装好后将上锁套锁住。用扳手转动套筒,调整外露丝扣长度,调整完成后每端外露丝扣长度不超过 1 扣。随后套上下端的锁套,用手锤及扳手将两端锁套初步锁紧。用液压钳进行两次压紧,完成套筒的装配作业。

(1)经济效果分析
1)采用分体式套筒,其钢筋对接施工速度快,能有效的节约钢筋连接时间,缩短施工工期且施工质量稳定。
2)对比普通的焊接施工工艺,可节约材料和人工费用,能有效降低造价。
(2)环境效果分析
采用分体式套筒钢筋快速连接技术,较传统焊接钢筋连接,无光污染和有毒粉尘的产生,节省电力资源,符合节能环保的理念。
适合于超长支护桩的钢筋工程、钢筋超长导致无法一次性吊装施工的工程、现场条件限制钢筋连接不适宜采用焊接、直螺纹连接的工程。
达因机械:16631808029 / 18632833222